The patent is real, but how close are these futuristic shoes to becoming reality?

Published February 17, 2026 11:25PM
Just when we thought the bike industry had reached peak electronic integration, a perusal of the patents proves us wrong with a pair of shoes that feel like they could have been pulled right out of “Back to the Future.”
Control of everything from drivetrains to seat posts, tire pressure, and suspension has all been augmented to varying degrees by the advent of electronic integration. But, the latest potential beneficiary (or victim, dependent on your inclination) is perhaps the most eyebrow raising of all.

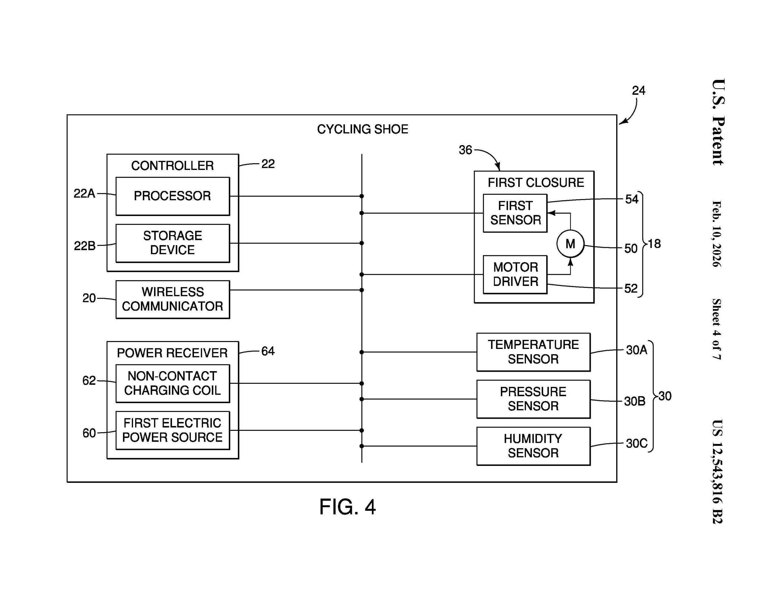
By virtue of motorized ratcheting lacing, the shoes are able to automatically adjust how tight or loose they are fastened, on the go. Originally covered by road.cc, this patent is the latest granted to the giant component manufacturer, Shimano.
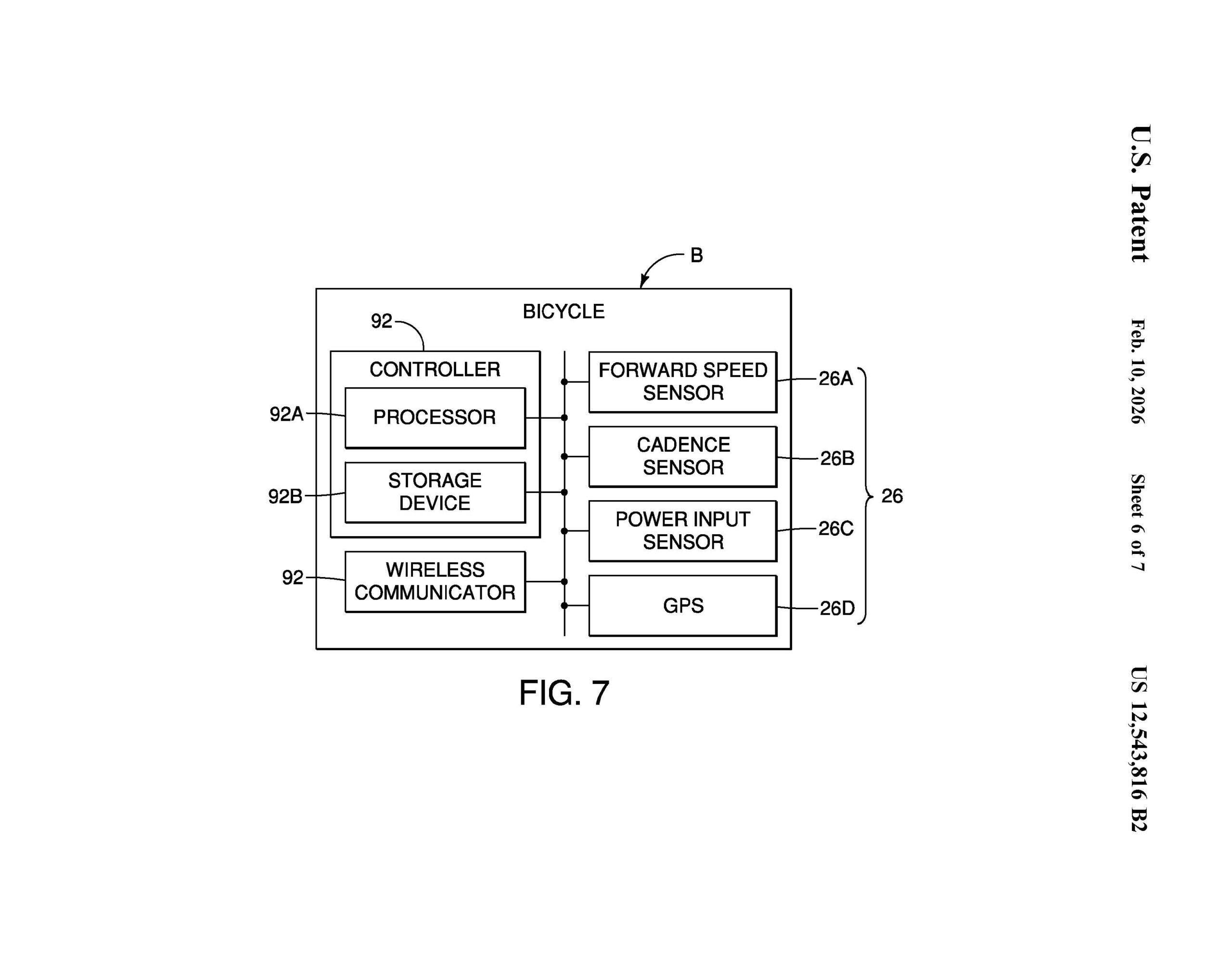
The patent details how a raft of sensor information could be used to determine how tight or loose the shoes should be at any given time.
Pedaling cadence, power, and bike speed are the first to be mentioned, and perhaps the least surprising of the lot. Then, the inventors mention other interesting parameters: heart rate, body temperature, blood oxygen concentration, blood lactate levels, shoe temperature, insole pressure, and humidity.

Also mentioned is the use of GPS coordinates to dictate how tight the shoe should be. What a time to be alive.
It may all seem like a pedal stroke too far in the pursuit of marginal gains. But, you know what, an invention like this might actually make sense in triathlon where athletes go to great lengths to keep transition times between sports to a minimum.
Imagine the possibilities: you finish the swim, jump on your bike, slip your feet into the very loose shoes that are already clipped into your pedals. Then, as the bike’s speed is pushed above a certain threshold of km/h, the shoe automatically tightens itself around your foot to a pre-set tightness — no reaching down to hurreidly twist a dial. Then, as you transition from bike to run, a tap of your smart watch may be all that is required to tell she shoe to loosen once more to allow you to jump off the bike in record time.

Or, with the GPS feature, you could feasibly zone out the part of the route where the shoe should be tight, and after that it would revert to a loose state.
It’s easy to see how there are a plethora of ways in which to utilize such integrated technology to *maximize power transfer and comfort over a long and variable day in the saddle. Whether the UCI would permit such newfangled hardware is a can of worms I choose not to open here.
*Caveat: I don’t know that there is robust evidence for shoe tightness impacting power output, but it does seem to make intuitive sense that the less play there is between the pedal and the foot exerting force upon it, the more efficient the transfer of that force. And, I would imagine it feels more efficient as well.
This table from the patent filing gives you an idea of the inventors’ intentions for use of the technology with four example settings. In Setting 2, when cadence is greater than 80 rpm and watts goes above 150, the shoe is to be tight. The blanks in the table suggest that one could design their own settings to choose what conditions should be satisfied for the shoe to tighten or loosen.

Even though Shimano has been granted a patent on this method of shoe tightening, I would still file it under pie-in-the-sky. I could be wrong, but even if the UCI did permit such tech, it’s hard to imagine that any potential advantages would outweigh the glaringly obvious downside that this will come with a weight penalty. And not just any weight penalty, but a weight penalty on rotating mass. No matter how small, a battery, controller, actuator, cable and raft of sensors would all add up to some not-insignificant number of grams per shoe.
Thus, my advice would be not to save your pennies for these auto-lacing S-Phyre road racing shoes, as it seems unlikely they will ever make it into existence.
Imagine the MSRP if they did? The manual ones go for an eye-watering $525 USD!