Samsung will launch its first tri-fold smartphone this year, but the brand hasn’t revealed its launch date yet. And while we await more information from Samsung about this smartphone, rumored to be called the Galaxy Z TriFold, a patent document published by KIPRIS revealed the tri-fold will pack three batteries.
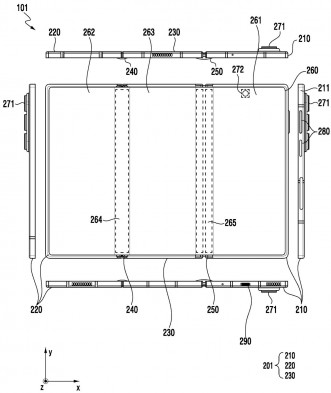
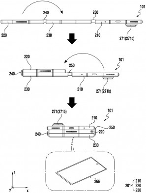
Since this is a tri-folding smartphone, it has three segments, each housing a battery cell. The sketch, which is shown below and included in the patent document, reveals that the smallest battery (T1) is placed inside the segment housing the triple rear cameras, while the second-largest battery (T3) is inside the segment packing the cover display. The largest battery (T2) is inside the segment that will be sandwiched between the other two when the TriFold is folded.

The document didn’t specify the individual or total battery capacities or the charging speed, but we hope it will be better than the Galaxy Z Fold7, which came with a minuscule 4,400 mAh battery and a measly 25W wired charging support (compared to the competition).
Sketches from the patent document revealing the Samsung Galaxy Z TriFold’s design
There were rumors that the Samsung Galaxy Z TriFold would be exclusive to South Korea and China, but we later heard it could also come to the US. Recent rumors claimed the tri-fold would be unveiled towards the end of this month.
Samsung Galaxy Z Fold7
What’s also expected to arrive this month is Samsung’s first Android XR headset, codenamed Project Moohan. Its pre-registrations in South Korea are said to begin on October 15 and continue until October 21, with the launch scheduled for October 22.