
Lanh Nguyen / Android Authority
TL;DR
A patent application from Samsung contains illustrations of what looks like a wider Galaxy Z TriFold.
These images don’t necessarily mean that such a device is in development.
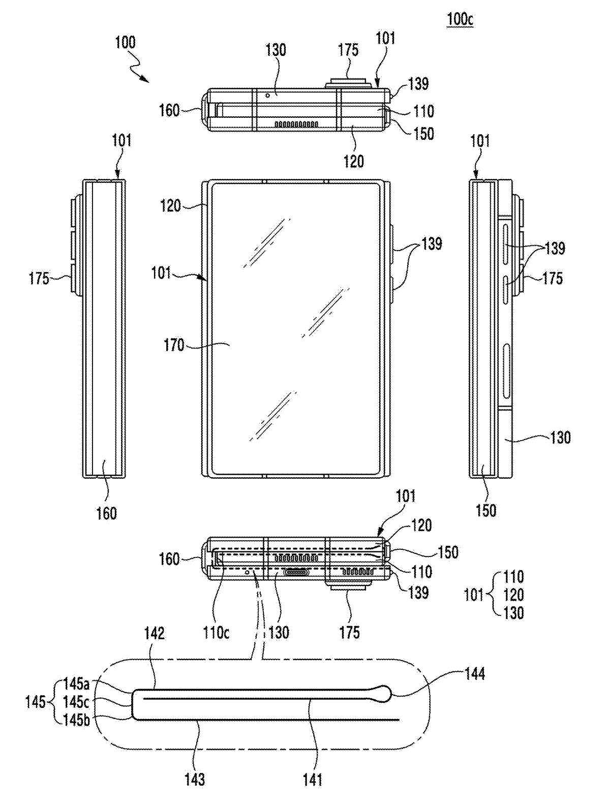
Samsung’s wildly expensive Galaxy Z TriFold is in limited supply, with US sales only open in person at a handful of Samsung stores around the country. That phone is already pretty novel, with its triple-folding design — and a recently surfaced US patent application shows that Samsung may have entertained a similar design with even larger displays.
IT firm NetworkRight highlighted the patent application in a blog post. The application, filed last year and published in March, is for a “multi-foldable electronic device” — the Galaxy Z TriFold — and also includes imagery showing a triple-folding smartphone with a much wider display.
Don’t want to miss the best from Android Authority?
A couple of illustrations in the patent application depict a version of the Galaxy Z TriFold with a squarer aspect ratio for its cover display, with a shape more reminiscent of a tablet than a modern smartphone.


In the context of the patent application, these images aren’t explicitly meant to depict a separate device (they’re mixed in with images showing a triple-folding phone more similar to the existing Z TriFold). Even if it were a wholly separate, patented design, patents don’t guarantee an idea will make it to production. Still, it’s an interesting development.
Leaked info indicates Samsung is working on a version of its Galaxy Z Fold 8 with dimensions more similar to a typical book: proportionally wider than the Z Fold 7 when closed, and extra-wide when open. Given we’re fairly sure this “Wide Fold” will materialize this year, it’s not out of the question that Samsung may have considered an even wider TriFold design. Given the existing model’s contentious $2,900 price tag, though, even more screen in a similar phone might not be a realistic prospect.
Thank you for being part of our community. Read our Comment Policy before posting.

